您好,欢迎进入江南娱乐手机客户端 官方网站!
纳芯微全新推出首款业界领先的NSE11409系列智能低边开关芯片,该款芯片是专门针对驱动高可靠性负载应用而设计的,广泛应用于驱动汽车和工业场景中的继电器、执行阀、照明和加热电阻丝等负载元件。


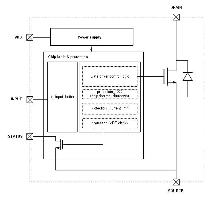
典型应用框图
NSE11409是车规级40V/单通道90mΩ智能低边开关, 具备完整的诊断与保护功能,芯片内置>45V的过压钳位,特别适用于驱动继电器和阀门等电感负载,实现快速退磁。该款芯片内部能够对输出进行限流,具备开路诊断以及过温保护等功能。能够在-40℃至125℃的环境温度下正常运行,可提供SO-8和SOT-223两种封装形式,满足不同的设计需求。

NSE11409系列功能框图

NSE11409系列封装管脚图


测试波形1:电感负载过压钳位

测试波形2:动态过温保护和过流钳位

测试波形3:1.5A负载ON/OFF

测试波形4:绝对过温保护
免费送样
NSE11409系列产品均可提供样品,如需申请样片或订购可邮件至sales@novosns.com或拨打0512-62601802,更多信息敬请访问www.novosns.com
关于纳芯微
纳芯微电子(NOVOSENSE)是国内高性能高可靠性模拟及混合信号芯片设计公司,聚焦感知、驱动、系统互联方向,提供传感器、信号链、隔离与接口、功率驱动、电源管理等丰富的半导体产品及解决方案,并被广泛应用于汽车、工业控制、信息通讯及消费电子领域。
公司以『“感知”驱动“未来”,构建万物互联的“芯”世界』为使命,致力于为数字世界和现实世界的连接提供芯片级解决方案。
了解详情及样品申请,请访问公司官网:www.novosns.com