用电容传感器按钮设计电子开关

??为了读出传感器的状态,微控制器必须执行如下两步(图2和图3):


??1:改变输出状态,从"0"到"1"(写操作-Twr)
??2:读输入状态(读操作-Trd)
??假若读操作的结果是"0",这意味着传感器被按。为手指电容串联连接到电容器C,使电路的时间常数较大。
??因为为手指电容小,Twr和Trd之间的间隔时间小于1~2μs,所以建议PIC12CXXX内部时钟用4MHz。
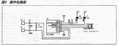
??在图4硬件电路图中包含两个传感器按钮。其技巧是对于读传感器SB0:GP0设置为输入,GP1设置为输出;而对于读SB1:GP0设置为输出,GP1设置为输入。GP4,5连接至LED,指示传感器按钮的状态,PIC12C508其他引脚在此不讨论,它们可用做为SYNCRO输入和TRIAC DRIVER输出。

??必须调节电阻器R1的值,它确定按钮的灵敏度。电容器C1和C2的值不是太重要。建议用与微控制器输入相同类型的,具有相等的输入阻抗。
??软件流程示于图5。


编辑:admin 最后修改时间:2017-12-13


