村田DE6系列KJ型安规陶瓷电容器实现商品化
【概 要】
株式会社村田制作所实现了应用于汽车电子领域的DE6系列KJ型安规陶瓷电容器的商品化。新开发的DE6系列KJ型安规陶瓷电容器不仅通过了世界各国的安规认证,而且能够满足对汽车电子元件的严格要求。同时,该电容器还符合世界各国(地区)的电源电压和频率标准(电源电压100~240V、电源频率50/60Hz),适合全球各地用户的使用,因此最适合被安装在PHEV和EV的充电器中,可起到抑制交流线路噪声的作用。
【背景和开发目的】
目前人们的环保意识越来越强烈,受此影响,环保节能汽车的普及速度也正在不断加快。为了推动绿色能源产业的发展,以各国政府和电力公司为中心,各方都正在为实现PHEV和EV的实用化和推广使用PHEV和EV而努力。
PHEV和EV是通过直接连接外部供电电源来为汽车充电的,由于在连接外部电源时会瞬间产生高电压,因此直接安装在电动汽车充电器的主电路中的电容器会有可能因受到此冲击高电压的影响而被损坏。为了避免这种情况的发生,该电容器必须是能够通过安全认证的浪涌(冲击)抗扰度强的产品。同时为了满足汽车电子元件的应用要求,该电容器还必须具备高可靠性,诸如通过实施温度循环试验,该电容器必须保证能够经受一千次温度循环变化。
此次,村田制作所领先同行,实现了应用于汽车电子领域的安规陶瓷电容器的商品化。此电容器使用了与以前的安规电容器的耐电压性能相同的陶瓷元件,并且为了提高其耐温度循环变化性能,在电容器的绝缘涂料中我们还使用了新开发的树脂材料。
【 产品特点 】
1. 适用于汽车的动力系统和安全控制装置等
2. 具备优良的耐温度循环变化性能(在温度循环变化范围为-55℃/+125℃的情况下,可经受一千次温度循环变化)
3. 获得UL、ENEC(VDE)安规认证的X1、Y2电容器
4. 额定电压AC300V
5. 电容器的外壳使用了阻燃性环氧树脂材料(符合UL94V-0标准)
【用 途 】
1. 可被用作抑制交流线路噪声的Y电容器,以及连接两个电路的耦合电容器,适合安装在PHEV和EV充电器中。
2. 可被用作滤波电容器,适合安装在PHEV、EV和HEV(混合动力汽车)的DC-DC转换器之中。
【系列产品型号】

※□□□是表示引脚形状和包装方式的代号。详细请参看右边的“引脚形状和包装方式”列。
【特 性 图】

《温度循环试验条件》试验条件:温度范围-55/+125 ℃,温度变化时间间隔各30分钟,试验数量:20个
【 电气特性 】

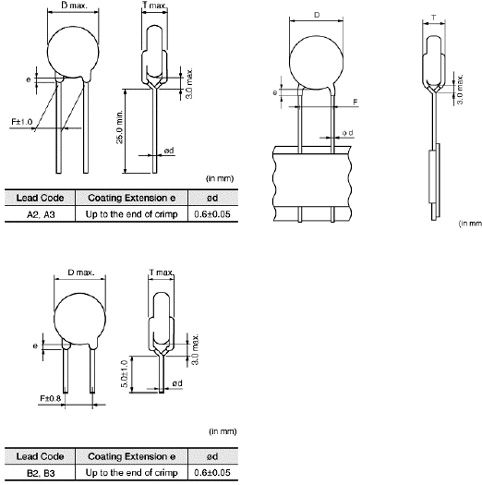
【 外形尺寸图 】

外径尺寸D : 8~12mm 以下(各型号产品的外径尺寸均不相同)
引脚间距 F : 7.5mm
产品厚度 T : 7mm以下
【 生产体制 】从2011年4月开始量产
【 样品价格 】约8日元/个(各型号产品的样品价格均不相同)
以上资讯由村田代理颖特新科技为你整理,muRata MLCC现货热线:0755-82591179,QQ:97805806。

编辑:admin 最后修改时间:2018-05-24


