什么是漏极 源极 栅极及场效应管的结构原理解析
场效应管
场效应管一般的晶体管是由两种极性的载流子,即多数载流子和反极性的少数载流子参与导电,因此称为双极型晶体管,而FET仅是由多数载流子参与导电,它与双极型相反,也称为单极型晶体管。
它属于电压控制型半导体器件,具有输入电阻高(108~109Ω)、噪声小、功耗低、动态范围大、易于集成、没有二次击穿现象、安全工作区域宽等优点,现已成为双极型晶体管和功率晶体管的强大竞争者。
场效应管的结构原理解析
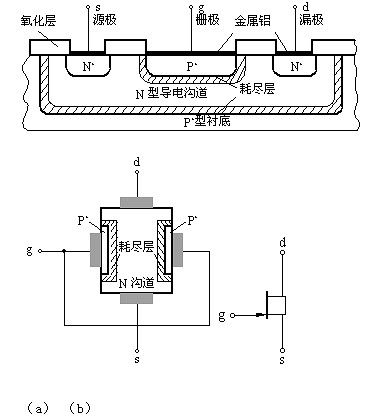
在两个高掺杂的P区中间,夹着一层低掺杂的N区(N区一般做得很薄),形成了两个PN结。在N区的两端各做一个欧姆接触电极,在两个P区上也做上欧姆电极,并把这两P区连起来,就构成了一个场效应管。如图所示:

N型导电沟道结型场效应管的电路符号
将两个P区的引出线连在一起作为一个电极,称为栅极(g),在N型硅片两端各引出一个电极,分别称为源极(s)和漏极(d),很薄的N区称为导电沟道。共漏极放大电路——源极输出器

共漏极放大电路也具有电压放大倍数小于1,但接近1;输出电压与输入电压同相;输入电阻高,输出电阻低的特点。
什么是漏极
将两个P区的引出线连在一起作为一个电极,称为栅极,在N型硅片两端各引出一个电极,分别称为源极和漏极,很薄的N区称为导电沟道。共漏极放大电路——源极输出器。栅极简称为G,源极简称为S,漏极简称为D。
开漏形式电路的特点
1.利用外部电路的驱动能力,减少IC内部的驱动,?或驱动比芯片电源电压高的负载。
2.可以将多个开漏输出的Pin,连接到一条线上。通过一只上拉电阻,在不增加任何器件的情况下,形成“与逻辑”关系。这也是I2C,SMBus等总线判断总线占用状态的原理。
3.由于漏级开路,所以后级电路必须接一上拉电阻,上拉电阻的电源电压就可以决定输出电平。这样就可以进行任意电平的转换了。
4.源极开路提供了灵活的输出方式,但是也有其弱点,就是带来上升沿的延时。因为上升沿是通过外接上拉无源电阻对负载充电,所以当电阻选择小时延时就小,但功耗大;反之延时大功耗小。所以如果对延时有要求,则建议用下降沿输出。


