传感器原理全解密!一篇文章让你掌握7种传感器的工作原理
传感器是将某种变化的物理量 (绝大部分是非电量) 转化成对应的电信号的元件。在汽车上,传感器用来感受诸如温度、压力、转速、位置、空气流量、气体浓度等物理量的状态及变化情况,并送到控制器或仪表。传感器提供的状态信息,是汽车电子控制的基本依据 。
01电磁式曲轴位置传感器
作用:产生发动机转速信号,确定基本喷油量和基本点火提前角;计算曲轴转角,确定一缸上止点。
工作原理:转子上有很多齿, 并且有缺齿, 缺齿处对应一缸上止点。电磁式传感器利用电磁感应原理产生正弦变化的电压信号, 当齿转到将要与磁铁正对时, 磁通量的变化量最大, 所产生的感应电压最大。当转子抓到使电磁元件位于两个齿中间时, 磁通量的变化量几乎为零, 感应电压也很小。当转子转到使电磁元件位于缺齿处时, 由于这段距离相对较长, 因此此处波形与正常波形不同。我们可以根据这一特点计算出转速、曲轴转角等信息。

02霍尔式凸轮轴位置传感器
作用:确定一缸压缩上止点。
工作原理:利用霍尔效应, 使用触发盘规律性遮挡磁力线, 使霍尔电压产生规律性变化。因为凸轮轴一个工作循环只转一圈, 缺齿处对应一缸压缩上止点, 所以可以从波形上判断出一缸压缩上止点,从而确定点火时刻。

03压力检测式爆震传感器(共振形)
作用:提高发动机的动力性能同时不产生爆震;降低油耗 ;降低有害气体的排放量。
工作原理:传感器中压电元件紧密地贴合在振荡片上, 振荡片则固定在传感器的基座上。振荡片随发动机的振动而振荡,波及压电元件,使其变形产生电压信号。当发动机爆震时的振动频率与振荡片的固有频率相符合时,振荡片产生共振。此时,压电元件将产生最大的电压信号。该爆震传感器在发动机爆震时输出的电压比较高,因此无需使用滤波器即可判别有无爆震产生。

04氧传感器
作用:测量废气中氧的含量,检测空燃比,实现空燃比闭环控制。前氧作用是检测废气中氧的含量,检测混合气比例是否正常,用于闭环控制;后氧的作用是与前氧作比较,检测三元催化器的好坏。

05节气门位置传感器
作用:检测节气门的开度及开度变化,此信号输入 ECU,控制燃油喷射及其他辅助控制。
工作原理:利用触点在电阻体上的滑动来改变电阻值, 测得节气门开度的线形输出电压,可知节气门开度。全关时电压信号应约为 0.5V,随节气门增大,信号电压增强,全开时约为 5V 。

06空气流量器
作用:将空气流量转换成电信号送给电控单元, 该信号作为决定喷油量的基本信号之一。
工作原理:热线电阻 RH 以铂丝制成, RH和温度补偿电阻 RK 均置于空气通道中的取气管内, 与 RA、RB 共同构成桥式电路。RH 、RK 阻值均随温度变化。当空气流经 RH 时,使热线温度发生变化,电阻减小或增大,使电桥失去平衡,若要保持电桥平衡, 就必须使流经热线电阻的电流改变,以恢复其温度与阻值,精密 电阻 RA 两端的电压也相应变化 ,并且该电压信号作为热式空气流量计输出的电压信号送往ECU。

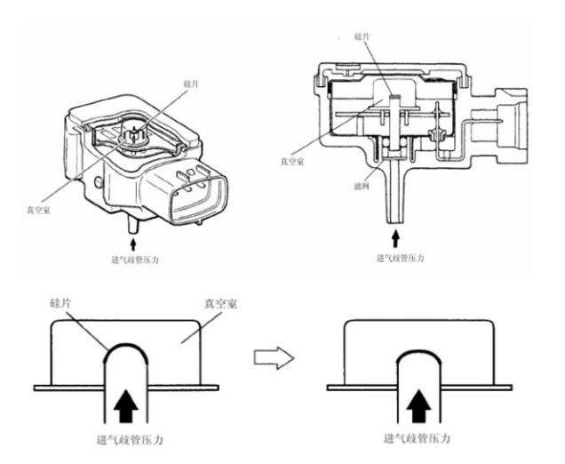
07压力传感器
作用:D 型系统中,测量进气管压力,并将信号输入 ECU,作为燃油喷射和点火控制的主控制信号。进气压力越高,真空度越小,膜片形变越大,输出电压越高。


编辑:xiaoYing 最后修改时间:2023-04-24


