传感器特点—组成—及作用
传感器的主要功能
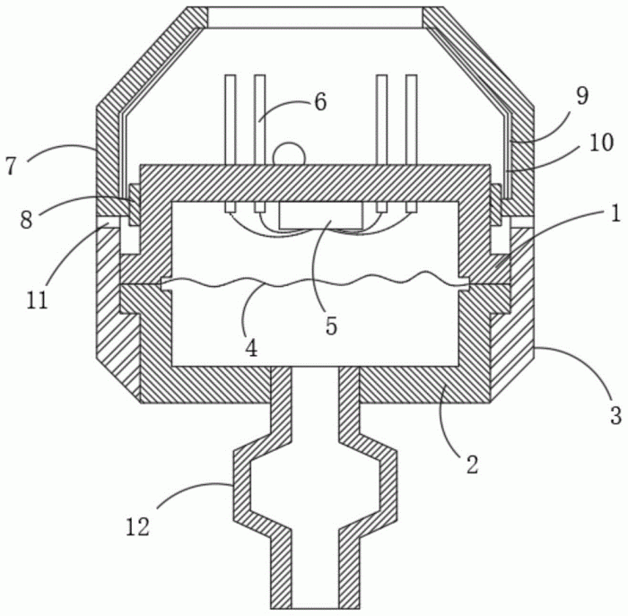
传感器的组成:如以下图所示,传感器一般是由敏感元件、转化元件、变换电路和辅助电源四部分组成。

敏感元件直接感受被测量,并输出与被测量有确定关系的物理量型号
转化元件讲敏感元件输出的物理量型号转换为电信号
变换电路负责对转换元件输出的电信号进行放大调制
转化元件和变化电路一般还需要辅助电源供电。
传感器的特点:微型化——数字化——智能化——多功能化——系统化——网络化 它是实现自动检测和自动控制的首要环节。传感器的存在和发展,让物体有了触觉、味觉和嗅觉等感官让物体慢慢变得活了起来。通常根据其基本感知功能分为热敏元件、光敏元件、气敏元件力敏元件、磁敏元件、湿敏元件、声敏元件、放射线敏感元件、色敏元件和味敏元件等十几大类。
传感器:可以叫“传感器探头”,将大自然各种变量,比如:温度、压力、液位、流量、开关量、风速等,用敏感电子元器感知,然后输出一点非标准的信号,信号很小,乱七八糟的信号。比如:电阻0-100欧,电流-124A-567A,倾斜角度0-360°,化学成分、能量、光电等。
传感器的主要作用:人们为了从外界获取信息,必须借助于感觉器官。而单靠人们自身的感觉器官,在研究自热现象和规律以及生产活动中它们的功能远远就不够了。为适应这种情况,就需要传感器。因此可以说,传感器是人类五官的延长,又称之为电五官。
传感器的主要功能与人类5大感觉器官相比拟:
光敏传感器——视觉
声敏传感器——听觉
气敏传感器——嗅觉
化学传感器——味觉
压敏、温敏、流体传感器——触觉


编辑:xiaoYing 最后修改时间:2023-03-30


